Полки проходческие, опалубки ОСД

Полки проходческие

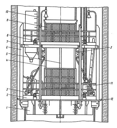
Полки проходческие состоят из балок, окаймляющего кольца, настила и выдвижных пальцев. Наружный диаметр окаймляющего кольца на 100 мм меньше диаметра ствола в свету. В полках проходческих этого типа устраивают проёмы для пропуска подвесного оборудования. Полок проходческий применяют как при проходке, так и при армировании стволов; к нижнему этажу полки-каретки подвешивают породопогрузочные машины (KC-2у, KC-1м). Двухэтажные или многоэтажные полки-каретки и подвесные полки состоят из этажных площадок, а также стоек, лыж, соединяющих этажные площадки, и прицепного устройства.

Полок проходческий — сборно-разборная конструкция с соединением элементов на болтах (размеры элементов полок проходческих обеспечивают свободный проход их через проёмы нулевой рамы). Этажные площадки состоят из стальных балок, наружного кольца, окаймляющего площадку, и настила. Площадки имеют проёмы для пропуска бадей, насоса, спасательной лестницы, трубопроводов и прочего оборудования. Проёмы для бадей ограждаются раструбами высотой не менее 1800 мм над этажной площадкой. Выполняют их сплошными, проходящими через все этажные площадки, и раздельными (на каждой площадке свой раструб). На этажных площадках над проёмами для насоса, спасательной лестницы и материальной бадьи устраиваются ляды. Для закрепления в стволе полки проходческие оборудуются гидрораспором или самозаклинивающими пневморычагами. В зависимости от технологической схемы проходки стволов подвеску полок проходческих осуществляют на одном канате, на двух ветвях одного каната, на направляющих канатах, на четырёх ветвях каната. Перед взрывом шпуров в забое ствола полки проходческие с помощью лебёдки поднимают на безопасную высоту.

Опалубки типа ОСД

Опалубки самоотрывающиеся типа ОСД предназначены для крепления вертикальных стволов монолитным бетоном непосредственно в призабойном пространстве вслед за подвиганием забоя в условиях обводнения и взрывных работ. Опалубки изготавливаются высотой 3,3 м и 4,2 м, диаметром4,5... 8,5 м. Наличие съемного поддона позволяет перемещать опалубку в закрепленном пространстве.

ООО "ШахтРесурс"
ИНН 6155059826
КПП 615501001
ОГРН 1106182002740

Music band


+7 (8636) 25-46-84

пн-пт с 8:00 до 18:00

info@sharesurs.ru

Общий email по всем вопросам

© Copyright 2010-2024 ШАХТРЕСУРС - Все права защищены

Яндекс.Метрика